名稱
電子郵件
標題
內文
圖檔[] []
刪除密碼八個字元,刪除文章用
  • 對於鬧版等情形,管理群可以不經公告而做出處置,請見諒
  • 超測與沙盒測試人員均簽署保密協定,請勿談論與洩漏任何有關資料
  • 推文長度有限制,請善用縮網址
  • 由島民成立的組排頻道,於遊戲頻道之 ID 為 Komica (TW/HK),歡迎利用
  • 戰報版 . 公會版 . 回報鬧版 . 管理紀錄 . Tripcode 認證 . 版面狀況查詢
  • 可附加圖檔類型:GIF, JPG, JPEG, PNG
  • 附加圖檔最大上傳資料量為 1500 KB

主題一覽
42334: 無標題 (0)42271: 是不是有人PO病毒連結啊... (0)
42332: WG新作亮相 World of Tank:HEAT (0)42268: 2022聖誕節回鍋之後發現2021的戰車獎勵沒辦法領ㄌ... (1)
42328: 無標題 (3)42266: 結果沒開到真車 (1)
42318: 無標題 (4)42261: 無標題 (1)
42310: 無標題 (9)42260: 無標題 (0)
42308: 無標題 (1)42256: 無標題 (0)
42297: 無標題 (1)42254: 問一下這遊戲還有人嗎? (3)
42281: 無標題 (2)42253: 無標題 (0)
42280: 無標題 (0)42251: 無標題 (1)
42272: 2023乘員歷練系統翻新 (2)42250: 歐服玩家 (0)
檔名:1547161910186.jpg-(108 KB) 預覽
108 KBGirls und Panzer 名稱: 無名氏 [19/01/11(五)07:11 ID:2UFIX1Uw (Host: 1-171-*.dynamic-ip.hinet.net)] No.41822 5推 [回應]
巴哈少戰版權一月份到期, 要回味的島民趁現在QAQ
無名氏: (σ゚∀゚)σ已買DVD,等4DX再上映去喝紅茶。 (cLn.7no6 19/01/11 10:41)
無名氏: (〃∀〃)在等最終章第二部 (Ci1QMNeQ 19/01/11 23:14)
無名氏: ∀゚)ノ快變成有生之年了 (bbWH0FeY 19/01/14 21:48)
無名氏: (;´д`)希望不會變成奧運番 (dvZexI/M 19/01/17 15:22)
無名氏: (╬゚д゚)水島跑去玩WT了,這部難產了 (pxWR48Yo 19/01/19 16:47)

檔名:1546890790187.jpg-(494 KB) 預覽
494 KB家機IS-7 名稱: 無名氏 [19/01/08(二)03:53 ID:tVKWA.lk (Host: 220-141-*.dynamic-ip.hinet.net)] No.41819 4推 [回應]
猴子我去年11/20開始玩, 今天01/08用魔法小卡灌經驗跳過obj257直接生出IS-7,裝備快填,垂穩,風扇,再搭配之前練上來的四技車長, 請問這輛該怎麼玩?用IS-3的玩法去玩嗎?
無名氏: (´◓Д◔`)Ԡ順帶一提,目前遊戲總場數才1100 (tVKWA.lk 19/01/08 03:57)
無名氏: (゚∀。)<Keep alive as you can (l5Gi70Oo 19/01/08 10:03)
無名氏: (σ゚д゚)σ這貨頭很硬、那根水管不太可靠,乖乖去前線賣頭當坦扛線,車身偏矮不要頂牛,會被開天靈蓋 (NrHe9MVM 19/01/08 11:38)
原po: (´・ω)唉, 十階場真是一堆妖魔鬼怪, 那根爛砲上金彈表現也才堪用...然後修理費又貴 (c7rq0MX2 19/01/09 01:27)
無標題 名稱: 無名氏 [19/01/09(三)03:55 ID:c7rq0MX2 (Host: 220-141-*.dynamic-ip.hinet.net)] No.41820   
 檔名:1546977333762.jpg-(315 KB) 預覽 315 KB
貼圖讓各位笑笑ㄛ, 上一場開貴賓狗4殺拿1牌, 結果下一場玩IS-7被對方15比0全滅(つд⊂)

檔名:1546544300849.jpg-(87 KB) 預覽
87 KB貴賓狗 名稱: 無名氏 [19/01/04(五)03:38 ID:AYiwC5WY (Host: 1-171-*.dynamic-ip.hinet.net)] No.41816 9推 [回應]
六階豹式, 家機版血量只有750,但是分房舒服,重坦等級的體積,中坦裡的龜速車,就那個炮又準又快,裝備技能加一加3.47秒一炮,上金彈更是舒壓,雖然傷害不怎麼樣,但個人玩起來比T-34-88順手,更感覺比A-43這台容易蒸發的垃圾好多了.
無名氏: ∀゚)ノ<來開PC版的就會發現兩台不同車(O (02Nmy1fA 19/01/04 10:22)
無名氏: (・_ゝ・)y━・~...貴賓狗A43兩台玩法根本不一樣的是在比什麼? (/ru8oVQM 19/01/04 13:55)
無名氏: (´◓Д◔`)ԠPC版我開起來是蠻順手的,可是分房一直在搞我啊 (pEBcnB7w 19/01/04 14:16)
無名氏: wg拿出來騙錢的 組員只能訓到6階 跟那台瑞中坦一樣 (N9mnjfYI 19/01/05 17:23)
無名氏: 比瑞中還悲哀 他跟美國英國一組 解任務還被克倫威爾屌打 (N9mnjfYI 19/01/05 17:24)
無名氏: (σ゚д゚)σ你倒是說說看六階中坦哪個不被克倫威爾屌打 (Dp78BUGc 19/01/06 02:24)
無名氏: (*゚∀゚*)T-34-85M (FyWzhzmI 19/01/06 12:43)
無名氏: (゚д゚)。o0其實我覺得都差不多都被克倫威爾狗到懷疑人生了 (b2KJ.29E 19/01/06 12:57)
無名氏: 1 (WAWW4as2 19/01/06 17:46)
無標題 名稱: 無名氏 [19/01/06(日)23:07 ID:oTginuLA (Host: 220-141-*.dynamic-ip.hinet.net)] No.41818   
 檔名:1546787231586.jpg-(373 KB) 預覽 373 KB
我不知道PC版生態如何,不過貴賓狗幫我在8階場拿到生涯第一張M牌了.

檔名:1546533002813.jpg-(655 KB) 預覽
655 KBВБР №109 — Весёлые кульбиты 名稱: (´・ω・`) [19/01/04(五)00:30 ID:m90b7IRw (Host: *.dynamic-ip6.hinet.net)] No.41815 1推 [回應]
https://www.youtube.com/watch?v=5WXbq0zwIWc

E 25:兄弟接好(撞

M56 Scorpion:我會飛簷走壁還需要告訴你?
無名氏: (つд⊂)越看越覺得這遊戲根本是拿著砲管互敲的遊戲 (/MZks2WI 19/01/04 13:05)

檔名:1546193185182.jpg-(77 KB) 預覽
77 KBТ-34 — Трейлер (2019) 名稱: 無名氏 [18/12/31(一)02:06 ID:TWHXybOY (Host: 1-161-*.dynamic-ip.hinet.net)] No.41812 2推 [回應]
https://www.youtube.com/watch?v=owurRP3koMw
如果白色老虎都有活動~
不知道這部會不會有~
不過前提是像"怒火"那樣全球上演~
無名氏: 都沒人想拍kv1或is的作品喔?su152也不錯啊 (OU8wRv82 19/01/01 04:08)
無名氏: (・∀・)KV1那種龜速車當主角應該很無聊吧 (bLaTKk3o 19/01/01 14:35)
無標題 名稱: 無名氏 [19/01/01(二)11:45 ID:Rnj7Z2WA (Host: 1-161-*.dynamic-ip.hinet.net)] No.41813   
 檔名:1546314353287.jpg-(62 KB) 預覽 62 KB
>>>都沒人想拍kv1或is的作品喔?su152也不錯啊
https://youtu.be/PAZeDJUnZzk
島民~我想要KV-220啊~
無標題 名稱: 無名氏 [19/01/01(二)13:07 ID:SrSuxFsw (Host: 1-165-*.dynamic-ip.hinet.net)] No.41814 2推  
 檔名:1546319237425.jpg-(209 KB) 預覽 209 KB
>>No.41813
白版KV-3:我一直都在好嗎…
無名氏: (゚∀。)<不不不~你誤會了~我要的是另一台,島上常說的KV-220(-2) XD (Rnj7Z2WA 19/01/01 18:04)
無名氏: (;゚д゚)明明ZIS-5 76砲,穿甲硬是比馬蒂達4 T-34好 (0./URN4o 19/01/02 06:09)
無標題 名稱: 無名氏 [19/01/18(五)23:36 ID:EoHXPpI2 (Host: *.dynamic-ip6.hinet.net)] No.41825 4推  
你問的KV-1當主角電影...
https://www.youtube.com/watch?v=PAZeDJUnZzk

現實也戳排啦啦啦
T-34-85其實沒甚麼機會跟附加裝甲型KV-1編組同單位
1943年的編組,KV-1多半組成獨立重戰車團
行軍跟野外機動根本跟不上T-34-85
無名氏: ∀゚)ノ仔細看了一下主角的屁股 它的車身其實是IS系列戰車 (Q/fflWbc 19/01/20 09:25)
無名氏: (゚∀゚)<https://youtu.be/BE0vRkOaebw 沒問題~!島民~砲塔對了能裝上去,甚麼都是 (8QPPAz/6 19/01/20 13:53)
無名氏: (゚∀゚)<KV-2 (8QPPAz/6 19/01/20 13:54)
無名氏: Σ(゚д゚)KV-2...不, IS-2!!???..... (Q/fflWbc 19/01/20 14:44)
無標題 名稱: 無名氏 [19/01/20(日)09:31 ID:Q/fflWbc (Host: 119.247.*.ctinets.com)] No.41828   
 檔名:1547947884571.jpg-(350 KB) 預覽 350 KB
無內文
無標題 名稱: 無名氏 [19/01/20(日)09:41 ID:qTSn41xc (IP: 124.217.*.*)] No.41829   
 檔名:1547948482665.gif-(59 KB) 預覽 59 KB
無內文

檔名:1545739854393.jpg-(127 KB) 預覽
127 KBドイツ III号戦車 K型 名稱: 無名氏 [18/12/25(二)20:10 ID:G.pVSwNk (Host: 36-228-*.dynamic-ip.hinet.net)] No.41805 2推 [回應]
血量600的五階中坦, 外觀很好看, 主砲是7.5cm43倍徑砲,極速約40km/h,操縱起來中規中矩,快填快瞄風扇裝上去填彈三秒多, 在同樣破百的場數下, 我玩這輛的勝率是54, T-34 57只有41...
無名氏: 這臺用的是L/40 不是L/43 (HLXHkefU 18/12/27 15:14)
無名氏: ∀゚)ノIV 7,5 cm Kw.K. 40 L/43 (cTnPXANY 18/12/27 23:02)
無標題 名稱: 無名氏 [18/12/26(三)01:25 ID:RxFcyS2g (Host: 118-232-*.kbronet.com.tw)] No.41806 2推  
https://tanks.gg/compare/pz-iv-d?t=pz-iii-k
你知道WG賣你一台連四號D型都不如的垃圾嗎?
無名氏: (゚∀゚)完全不覺得耶 (XNy/F25Q 18/12/26 06:51)
無名氏: |∀゚)血量跟裝甲都有增進,至少不會慘到被105一發帶走,而且履帶適性較好,比較好轉場 (Ai.Coh6Y 18/12/26 14:00)
無標題 名稱: 無名氏 [18/12/26(三)11:54 ID:qv/SQivQ (IP: 101.10.*.*)] No.41807 3推  
目前遊戲裡有5輛德國金中坦

Pz.Kpfw. T 25
Pz.Kpfw. III Ausf. K
Turán III prototípus
Pz.Kpfw. V/IV
Pz.Kpfw. IV hydrostat.

IIIK跟TuranIII一樣都有載彈量過少的問題
而且IIIK的銀彈穿深是當中最差的(最好的是T25)

以5階中坦的標準來看,科技樹上常駐的T25其實也還算堪用
(但是炮控很不德國)

更好的選擇是性能跟TuranIII差不多,
但是有分房保護的IV hydrostat.

而最好的選擇其實是同樣有分房保護,
但是性能卻相當不5階車的V/IV,
基礎視野365M簡直真他媽扯爆了(沒有分保的M4是370M)
無名氏: 補充: 第一句少打了"5階"ww (qv/SQivQ 18/12/26 11:55)
無名氏: 不過還好不四不五很稀少所以不至於破壞平衡性 (zl0PhdTw 18/12/26 13:09)
無名氏: 不要說稀少了,跟大頭M6一樣美服公測賣的東西在亞服除了當年轉服或官方帳號基本上一般人不可能有的 (21Y4RjrA 18/12/26 17:19)
無標題 名稱: 無名氏 [18/12/26(三)12:00 ID:YEB1gvEY (Host: 118-169-*.dynamic-ip.hinet.net)] No.41808 2推  
我覺得滿討厭
這些金車在遊戲裡面找不到資料
還要另外去翻....
無名氏: |∀゚)沒擺上架的通常是有幸遇到才能對他點右鍵査詳情 (Ai.Coh6Y 18/12/26 13:31)
無名氏: (゚∀。)可以用"比較"調出資料來看啊 (rJ1mfnQ. 18/12/26 13:40)
無標題 名稱: 無名氏 [18/12/26(三)13:54 ID:rJ1mfnQ. (Host: *.dynamic-ip6.hinet.net)] No.41809   
 檔名:1545803678890.jpg-(541 KB) 預覽 541 KB
無標題 名稱: 無名氏 [18/12/30(日)19:18 ID:RMh4BLhc (Host: 36-231-*.dynamic-ip.hinet.net)] No.41811 3推  
可惜5階以下的金車幾乎都很爛
除了那台法砲,和騙不會打的新手的KV220
希望WG能buff到和銀車差不多的戰力
無名氏: (ゝ∀・)可是5階以下有些銀車也爛到不可思議呀 (Yr38DFok 18/12/31 15:26)
鐵鴨鴨: (TдT)對!!我超爛的!!請給我500馬力引擎能真的跑到時速50,跟基本穿深值再增加個100就好!! (hnZdWwI2 18/12/31 20:20)
法國金馬桶: ⊂彡☆))∀`)。o0找個合適的位置就看光對面了,上個金彈還能教開KV-1跟KV-220-2的新手什麼是屌打(喂 (xZkaimDY 19/01/09 15:12)

檔名:1545551275745.jpg-(75 KB) 預覽
75 KB會有NTR嗎? 名稱: 無名氏 [18/12/23(日)15:47 ID:amaBURe2 (Host: 111-255-*.dynamic-ip.hinet.net)] No.41788  [回應]
話說輪車線已經開始建構中了,那像BTR這一系列車型是否有望出現?
有 7 篇回應被省略,請按下回應鍵閱讀所有回應
無標題 名稱: 無名氏 [18/12/24(一)23:20 ID:TjX5.7U6 (Host: *.dynamic-ip6.hinet.net)] No.41796 1推  
 檔名:1545664811022.jpg-(43 KB) 預覽 43 KB
Sdkfz 231重型偵察車2
無名氏: ∀゚)ノ這不是Sdkfz234/2嗎? (FUV2dkVQ 18/12/26 23:32)
無標題 名稱: 無名氏 [18/12/24(一)23:25 ID:TjX5.7U6 (Host: *.dynamic-ip6.hinet.net)] No.41797   
 檔名:1545665123633.jpg-(35 KB) 預覽 35 KB
M38獵狼犬
無標題 名稱: 無名氏 [18/12/24(一)23:37 ID:TjX5.7U6 (Host: *.dynamic-ip6.hinet.net)] No.41798   
 檔名:1545665840521.jpg-(18 KB) 預覽 18 KB
Studebaker T27 armoured car protoytpe
無標題 名稱: 無名氏 [18/12/25(二)00:00 ID:yZZcPFc. (Host: *.dynamic-ip6.hinet.net)] No.41799 1推  
 檔名:1545667252356.jpg-(350 KB) 預覽 350 KB
潘哈德裝甲偵察車
無名氏: 這台已經出了 (aorWJsgE 19/01/01 11:06)
無標題 名稱: 無名氏 [18/12/25(二)00:40 ID:yZZcPFc. (Host: *.dynamic-ip6.hinet.net)] No.41800   
 檔名:1545669646019.jpg-(73 KB) 預覽 73 KB
薩拉丁戰車
無標題 名稱: 無名氏 [18/12/25(二)01:16 ID:yZZcPFc. (Host: *.dynamic-ip6.hinet.net)] No.41801   
 檔名:1545671792357.jpg-(458 KB) 預覽 458 KB
FV721 Fox
無標題 名稱: 無名氏 [18/12/25(二)01:43 ID:yZZcPFc. (Host: *.dynamic-ip6.hinet.net)] No.41802   
 檔名:1545673421706.jpg-(351 KB) 預覽 351 KB
戴姆勒裝甲車
無標題 名稱: 無名氏 [18/12/25(二)01:49 ID:yZZcPFc. (Host: *.dynamic-ip6.hinet.net)] No.41803   
 檔名:1545673793463.jpg-(111 KB) 預覽 111 KB
T27裝甲車
無標題 名稱: 無名氏 [18/12/25(二)01:56 ID:yZZcPFc. (Host: *.dynamic-ip6.hinet.net)] No.41804   
 檔名:1545674174670.jpg-(108 KB) 預覽 108 KB
EE-9裝甲車
無標題 名稱: 無名氏 [19/01/09(三)20:25 ID:YMV8mOJ6 (Host: 220-141-*.dynamic-ip.hinet.net)] No.41821 2推  
敢問出這些的用意何在?定位又在哪?
無名氏: (*゚∀゚*)<輪車 (.8tneqIA 19/01/13 16:18)
無名氏: (゚∀。)敢問你敢問的用意何在?定義又在哪? 低裝甲高車速你問這問題真的有經過思考? (jnsX0GLI 19/01/20 21:38)

檔名:1545483001237.jpg-(723 KB) 預覽
723 KB無標題 名稱: 無名氏 [18/12/22(六)20:50 ID:AN3yZ4r2 (Host: *.dynamic-ip6.hinet.net)] No.41782 3推 [回應]
配備:
AMD Ryzen 5 2400G + DDR4-2400 8G + 新傳統硬碟 + W10

換了新電腦想來試一下效能如何,當初會挑這樣子的配備也是想說自己很少在玩遊戲了,即使特效全關玩坦克世界那倒也不要緊。

解析度:1920x1001。

第一張圖:特效全開。
這有點少: DDR4-2400 8G,試試到16g (j5bev656 18/12/22 21:31)
無名氏: 2400G要用內顯拿高頻RAM會比較好,可以用3200 8Gx2 (fthEcYJ6 18/12/22 22:18)
無名氏: (゚∀゚)內顯起碼裝2條記憶體,跑雙通道差蠻多的 (kxqWRCnA 18/12/24 03:35)
無標題 名稱: 無名氏 [18/12/22(六)20:55 ID:AN3yZ4r2 (Host: *.dynamic-ip6.hinet.net)] No.41783   
 檔名:1545483324735.jpg-(749 KB) 預覽 749 KB
特效全開下只剩1X FPS。
無標題 名稱: 無名氏 [18/12/22(六)21:01 ID:AN3yZ4r2 (Host: *.dynamic-ip6.hinet.net)] No.41784   
 檔名:1545483705860.jpg-(664 KB) 預覽 664 KB
特效全開下只剩1X FPS。
無標題 名稱: 無名氏 [18/12/23(日)00:25 ID:soN73qHE (Host: *.dynamic-ip6.hinet.net)] No.41785   
 檔名:1545495958203.jpg-(732 KB) 預覽 732 KB
特效中,FPS約4X。

可能是我同時開著網頁跟一些程式所以造成玩的時候雖然移動順暢但要瞄準攻擊時卻不太容易擊中對方。

如果關掉網頁跟其它程式,專心跑坦克世界的話應該會好一點。
無標題 名稱: 無名氏 [18/12/23(日)00:31 ID:soN73qHE (Host: *.dynamic-ip6.hinet.net)] No.41786   
 檔名:1545496275544.jpg-(553 KB) 預覽 553 KB
特效低。

低跟最低的明顯差別在於調低的話,坦克外觀還勉強可以看,最低的話則變得模糊。

而只要調成低或最低,車庫就沒有明顯的光影效果了。不過遊戲FPS會一口氣拉高到90~110多,變得很順暢。
無標題 名稱: 無名氏 [18/12/23(日)00:38 ID:soN73qHE (Host: *.dynamic-ip6.hinet.net)] No.41787   
 檔名:1545496727867.jpg-(715 KB) 預覽 715 KB
特效中。

這樣子的特效我就心滿意足了,但我平常用電腦都會開一堆東西,所以為了順暢度著想,還是調低來玩。

奇怪的是戰艦世界的特效卻可以調到中高左右?

我記得以前是戰艦世界對於系統的要求比坦克世界高,莫非是因為大改版的關係(進入1.0時代),所以坦克世界對於系統的要求反超戰艦世界?
無標題 名稱: 無名氏 [19/01/06(日)13:15 ID:OsWNw3yQ (Host: 42-77-*.emome-ip.hinet.net)] No.41817   
我上週末也遇到類似的問題(我現在都週末玩
電腦前年過年才買的遊戲用機體原本跑戰車戰艦等都能特效全開還是跑很順
上週五開來玩戰車卻跳出顯示卡出錯之類的視窗然後藍屏當掉
後來我查詢後照著巴哈的建議安裝了一個像藍色螃蟹的驅動程式才能玩(我原本的驅動程式是綠色N開頭字樣
但問題還沒真正結束;原本戰車時我習慣會另外開音樂,結果又藍屏(未證實是否有關
而且steam 的cs反而容易藍屏(重灌之後好像不會藍了
而且戰車時我也發現到fps下降了

檔名:1544920664982.jpg-(80 KB) 預覽
80 KB(考據向)關於T54炮塔的真實防護 名稱: 無名氏 [18/12/16(日)08:37 ID:ZpgRB2YQ (Host: *.dmit.io)] No.41769 6推 [回應]
目前為了平衡已經將T54炮塔上修到T62級別 而記得最早期時T54的炮塔是整個都200還是大面積160 180來著
然後之後某個版本進行了細化修正(削弱) 如果沒記錯的話似乎是只有正面一小塊炮盾是200mm 從炮管2側開始就是180左右的厚度減少

總之當時確實是這麼做過的嗎? 以及這個數據是否是正確的T54炮塔防護? 主要是在意T54炮塔的200mm部份具體該有多少
無名氏: (゚∀。)祖國車強化修正是正常狀態,不爽不要玩 (Z01.BDJM 18/12/16 12:26)
無名氏: o彡゚我只知道那時候T54被老美巴頓的90mm砲當罐頭打 (CnbgIROA 18/12/16 16:56)
無名氏: (゚3゚)。o0要講就真實,根本一堆車都會變廢物:像是日系戰車二戰結束前用的是低碳鋼,還有自5階起重坦線根本就沒有 (Z01.BDJM 18/12/16 18:22)
無名氏: 當然是近砲塔環厚、近艙門處薄阿,理論是這樣啦 (FaBdAlbg 18/12/17 01:13)
無名氏: 就砲管旁邊一小塊吧 這遊戲蘇車不加強 史實就跟廢物一樣 在強在硬你也不會想開座上去 (LgbNzi2U 18/12/20 00:05)
無名氏: 坐上去熟練度就先砍半了 非常窄 視野也不好 (LgbNzi2U 18/12/20 00:07)
無標題 名稱: 無名氏 [18/12/20(四)01:07 ID:0ks3iV9M (Host: *.dynamic-ip6.hinet.net)] No.41776   
http://www.panzer-modell.de/specials/ontour/parola/04g.jpg

其實是砲塔基座往上漸減
真正200mm的就最基座那部分
無標題 名稱: 無名氏 [18/12/20(四)08:21 ID:WX4wsiug (Host: *.dynamic-ip6.hinet.net)] No.41777   
>>No.41776 補充
如果被大口徑HE炸到砲塔上緣,大概60-80mm而已
應該有可能直接裂開殺傷砲塔內車組員,不過WG好像沒有作到那麼細?
無標題 名稱: 無名氏 [18/12/22(六)01:36 ID:gydF4QjA (Host: 61-62-*.so-net.net.tw)] No.41779   
 檔名:1545413766792.jpg-(26 KB) 預覽 26 KB
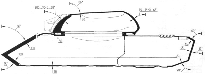
無標題 名稱: 無名氏 [18/12/22(六)01:41 ID:gydF4QjA (Host: 61-62-*.so-net.net.tw)] No.41780 1推  
 檔名:1545414090231.jpg-(58 KB) 預覽 58 KB
正面厚度從最厚200漸變到70,垂直~68度
側面變薄剩160~115,垂直~45度
後面剩65~50,垂直~45度
無名氏: 感覺以及樓上幾位的資料 (AZc7G8.Y 18/12/30 18:34)

檔名:1545270739944.jpg-(46 KB) 預覽
46 KB無標題 名稱: 無名氏 [18/12/20(四)09:52 ID:WjMB8oGI (IP: 124.217.*.*)] No.41778 4推 [回應]
我最近回鍋了(當時最新是日本重坦) 我已經有4202 豹一 E75,E100暴肥變胖子就沒買了
想問問有什麼帥車推薦?
IS-8的新10階就好像不錯
無名氏: Obj277? 這台的確不錯,有蘇聯重坦最高的機動力和DPM,缺點就是面對金彈裝甲抗不住就醬 (p3jtnGvQ 18/12/20 23:34)
無名氏: 順帶一提裝甲不好是跟其他蘇聯重坦比,祖國立場還是有但不明顯 (p3jtnGvQ 18/12/20 23:36)
無名氏: 要帥就好? 瑞典驅逐啊 (bF19XsDI 18/12/21 00:52)
無名氏: Obj277綜合起來沒有5A好...少數在超測後被砍的祖國車,測試版本扯的誇張 (GOgGhAEs 18/12/21 17:47)

檔名:1545222819383.jpg-(810 KB) 預覽
810 KBВБР №108. Доминируй, удивляй! 名稱: (´・ω・`) [18/12/19(三)20:33 ID:GA4VY09U (Host: *.dynamic-ip6.hinet.net)] No.41775 1推 [回應]
https://www.youtube.com/watch?v=gve3XRf7Gps

彈匣砲的優勢
無名氏: (゚3゚)打殘血的尾刀狗 (o5YMkkOw 18/12/20 13:20)

檔名:1544619400850.jpg-(108 KB) 預覽
108 KB無標題 名稱: 無名氏 [18/12/12(三)20:56 ID:uzUi8Zck (Host: 122-118-*.dynamic-ip.hinet.net)] No.41767 14推 [回應]
m56 scorpion vs steyr wt
請問哪台值得入手

蠍G跟130PM太貴了不想買
無名氏: (゚∀゚)M56吧,剪影小、跑比較快、穿深也比較好,只有DPM小輸一點 (gKYgDq/s 18/12/12 23:13)
無名氏: (・∀・)激動才4首選 不激動的車打起來只會想睡 (imf2mZ/M 18/12/12 23:28)
無名氏: (゚∀゚)<M56的缺點大概就是太輕,連砲車都能撞死你 (3j6GUjQE 18/12/13 00:36)
無名氏: (゚∀゚)沒有裝甲超刺激的 (MXJCRZgU 18/12/13 18:55)
無名氏: 會選德車的 1.是智障2.是真愛 (BJdwdOe. 18/12/13 23:25)
無名氏: 提到M56就想到,剛賣的時候還不少人開,我就這麼遇到了對面三排的M56 (RyonmCK. 18/12/14 05:45)
無名氏: (゚∀。)做為一台NERF成智障前的GW豹,那是我人生最快樂的一場(一砲三響 (RyonmCK. 18/12/14 05:46)
無名氏: (゚∀。)難得當班長砲車發生的事情,最不能忘記那場結束後來自三個人的私訊謾罵 (RyonmCK. 18/12/14 05:47)
無名氏: (゚∀。)再三個薄皮擠同一個草叢阿,哈哈哈哈哈 (RyonmCK. 18/12/14 05:49)
無名氏: m56 scorpion好車,穿深超級夠且機動也比較好 (dsuhAtYo 18/12/14 08:07)
無名氏: (;´д`)ノ彡┴─┴這台玩味不錯,但每次一開對面的總是喜歡神風式突擊撞過來 (OFRsZkwg 18/12/14 13:35)
無名氏: (*゚∀゚*)<撞下去穩賺不賠,當然撞啊w (8k3l6grg 18/12/14 22:12)
無名氏: (゚∀゚)就說了沒裝甲又超輕的,不撞你撞誰啊? (NbS5hul. 18/12/15 08:31)
無名氏: (*゚∀゚*)<之後還有輪車呢,碰到輪車根本沒得陶 (oW9EHFjA 18/12/24 01:12)
原PO 名稱: 無名氏 [18/12/16(日)16:29 ID:kqy3hiBM (Host: 114-26-*.dynamic-ip.hinet.net)] No.41772 8推  
謝謝大家的意見

話說我開22箱抽到IS-3A + 兩台五階金車

IS-3A玩得很爽
無名氏: IS-3A 超OP (JYtLMrOs 18/12/17 05:28)
無名氏: (゚3゚)<OP的是駕駛,君不見一堆單車過百場軍傷還不到一彈匣的TOMATO (1DE0nwxA 18/12/17 10:47)
無名氏: 彈匣車有賢者時間,義大利彈匣全射完會損失dpm,這IS-3A打完3發就一台-3,有任何缺點嗎?車速? (uyVkuYYs 18/12/18 03:44)
無名氏: IS-3A : -3我比你多兩顆 怎樣?正面上我啊! (catb2WdA 18/12/18 04:47)
無名氏: 以前買下來玩了幾場就冰封了,裝甲和銀幣車差多,而且自動裝填根本沒快多少,代訓還少一人…還不如去開251 (SloxgbH6 18/12/18 06:50)
無名氏: 加了意式彈匣,感覺OP同級重坦優勢增加了很多,對下級就是硬吃,最大爭論是這車的賢者時間和意粉不同吧…… (SloxgbH6 18/12/18 06:56)
無名氏: (σ゚∀゚)σ<猴子開什麼車都是猴子,一堆3+1發噴出去只穿一發的廢物 (SXDlJwPA 18/12/18 10:14)
無名氏: 整服都是猴子那還可以,但總有幾個不是猴子的異類 (nSu5Q.LU 18/12/18 17:36)
原PO 名稱: 無名氏 [18/12/18(二)21:54 ID:xJEHrIac (Host: 114-26-*.dynamic-ip.hinet.net)] No.41774 3推  
 檔名:1545141291560.png-(396 KB) 預覽 396 KB
腦衝好幾場才覺得
這台車肩膀的黑動裝甲好像消失了


還是乖乖打二線重坦吧
原PO: "黑洞"裝甲 打錯修正 (xJEHrIac 18/12/18 22:06)
無名氏: (゚∀。)-3不擺角最硬,擺角後朝敵人的那面只會被爽穿 (MVxb6ly. 18/12/19 01:12)
無名氏: (゚∀。)那用屁股擺角呢? (Cd7u7AHo 19/01/12 18:14)

【刪除文章】[]
刪除密碼:
[0] [1] [2] [3] [4] [5] [6] [7] [8] [9] [10] [11] [] [13] [14] [15] [16] [17] [18] [19] [20] [21] [22] [23] [24] [25] [26] [27] [28] [29] [30] [31] [32] [33] [34] [35] [36] [37] [38] [39] [40] [41] [42] [43] [44] [45] [46] [47] [48] [49] [50] [51] [52] [53] [54] [55] [56] [57] [58] [59] [60] [61] [62] [63] [64] [65] [66] [67] [68] [69] [70] [71] [72] [73] [74] [75] [76] [77] [78] [79] [80] [81] [82] [83] [84] [85] [86] [87] [88] [89] [90] [91] [92] [93] [94] [95] [96] [97] [98] [99] [100] [101] [102] [103] [104] [105] [106] [107] [108] [109] [110] [111] [112] [113] [114] [115] [116] [117] [118] [119] [120]